

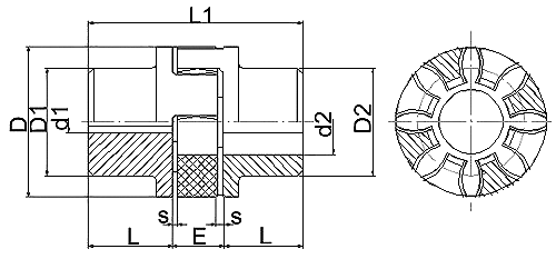
XL(LX)型弹性星型联轴器的基本尺寸和参数(JB/T 10466-2004) mm
|
型号
|
公称扭矩
N.m
|
许用转速
rpm
|
轴孔直径
d1、d2 |
轴孔长度
L1、L2
|
L。
|
D
|
D1 D2
|
E
|
S
|
转动惯量
kg.m2
|
重量
kg
|
|
|
XL1
|
20
|
19000
|
6-19
|
25
|
66
|
40
|
32
|
16
|
2
|
0.00008
|
0.30
|
|
|
XL2
|
70
|
14000
|
8-24
|
30
|
78
|
55
|
40
|
18
|
2
|
0.0002
|
0.61
|
|
|
XL3
|
190
|
11800
|
10-28
|
35
|
90
|
65
|
48
|
20
|
2.5
|
0.0007
|
1.00
|
|
|
XL4
|
380
|
9500
|
12-38
|
45
|
114
|
80
|
66
|
24
|
3
|
0.002
|
2.08
|
|
|
XL5
|
530
|
8000
|
14-42
|
50
|
126
|
95
|
75
|
26
|
3
|
0.004
|
3.21
|
|
|
XL6
|
620
|
7100
|
15-48
|
56
|
140
|
105
|
85
|
28
|
3.5
|
0.006
|
4.41
|
|
|
XL7
|
750
|
6300
|
20-55
|
65
|
160
|
120
|
98
|
30
|
4
|
0.012
|
6.64
|
|
|
XL8
|
850
|
5600
|
22-65
|
75
|
185
|
135
|
115
|
35
|
4.5
|
0.025
|
10.13
|
|
|
XL9
|
1950
|
4750
|
30-75
|
85
|
210
|
160
|
135
|
40
|
5
|
0.054
|
16.03
|
|
|
XL10
|
4800
|
3750
|
40-90
|
100
|
245
|
200
|
160
|
45
|
5.5
|
0.139
|
27.50
|
|
|
XL11
|
6800
|
3350
|
50-100
|
110
|
270
|
225
|
180
|
50
|
6
|
0.245
|
38.50
|
|
|
XL12
|
8000
|
3000
|
60-110
|
120
|
295
|
255
|
200
|
50
|
6
|
0.435
|
54.0
|
|
|
XL13
|
10000
|
2650
|
60-125
|
140
|
340
|
290
|
230
|
60
|
7
|
0.85
|
81.8
|
|
|
XL14
|
14500
|
2380
|
60-140
|
155
|
375
|
320
|
255
|
65
|
7.5
|
1.4
|
109.7
|
|
|
XL15
|
20000
|
2000
|
80-160
|
175
|
425
|
370
|
290
|
75
|
9
|
2.72
|
162.7
|
|
|
XL16
|
23500
|
1800
|
85-180
|
195
|
475
|
420
|
325
|
85
|
10.5
|
4.95
|
230.8
|